云主机网
  • 首页
  • 代码编程
  • 服务器
  • 网站运维
  • 资讯
最新文章
创龙TI OMAP-L138(定点/浮点DSP C674x+ARM9)USB接口

创龙TI OMAP-L138(定点/浮点DSP C674x+ARM9)USB接口

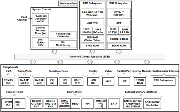
CPU OMAP-L138、TMS320C6748、AM1808三款CPU管脚兼容,外设资源基本相同。 OMAP-L138 TI公司的达芬奇架构嵌入式应用处理器开始使用DSP与ARM结合的非对称多核结构,OMAP-L138就是其中的一款低功耗双核嵌入式处……

2024年4月22日 互联网
最新文章
  • AI助理在NAS环境中的部署实践与避坑策略
  • 社区通证体系设计解析:以天涯分为例
  • 区块链网络中未确认交易的技术解析与优化策略
  • 快速上手智能对话机器人:10分钟搭建ClawdBot技术指南
  • AI算力需求爆发:日均30万亿Token消耗背后的技术演进与资源管理
  • 大模型Tokens详解:计费逻辑、调用模式与成本优化
  • 开源AI助手与硬件协同:如何以低成本构建高效本地化AI工作站?
  • 开源项目重命名与版本升级:OpenClaw的技术演进与生态构建
  • 低成本异构计算平台部署千亿参数大模型实践指南
  • OpenClaw部署全解析:2026年轻量级AI应用一键部署指南
  • 零成本构建AI中转站:解锁亿级Token资源池的实践指南
  • 如何高效利用AI工具完成毕业设计?免费资源与开发实践指南

© 2025 云主机网 版权所有

蜀ICP备86982900号